Јиангсу Хуафилтер Хидраулична индустрија Цо., Лтд.
Јиангсу Хуафилтер Хидраулична индустрија Цо., Лтд.
Производи
Производи
Експлозијско-отпорно олакшање притиска вентила
  • Експлозијско-отпорно олакшање притиска вентилаЕксплозијско-отпорно олакшање притиска вентила

Експлозијско-отпорно олакшање притиска вентила

Model:Explosion-proof Pressure Relief Valve DBE
• Карактеристике производа: Појачало Тип ВТ-2000
• Спецификације: Експлозијско-отпорно у вези са рељефним вентилом ДБЕ ДБЕ,
• Апликације: Превентири за избацивање платформе за бушење (БОП), алати за рупу,

Експлозијско-отпорно-рељефни ДБЕ серија је електрично контролисани вентил за регулисање притиска који је намењен запаљивим и експлозивним окружењима, са прецизним пропорционалним пропорционалним прописом притиска и сигурним карактеристикама отпорности на експлозију. Пропорционално рељефни вентил ДБЕ има уграђену механичку функцију хитне помоћи, аутоматски се пребацује на сигуран притисак када је напајање искључено. И превлачење отпоран на ношење на језгра вентила може проширити радни век.

Параметар производа од експлосије-отпорно олакшице за помоћ под притиском 

Течност Минерално уље погодно за бртву НБР и ФКМ
Фосфатни естер за ФКМ печат
Опсег температуре течности ℃ -30 до +80 (НБР печат)
-20 до +80 (ФКМ печат)
Распон вискозности мм2/ с 2,8 до 380
Линеарност ± 3,5%
Поновно постављање <± 2%
Електричан
Извор напајања ДЦ
Мин.Соленоид Цуррент Ма 100
Мак.Соленоид Цуррент Ма 800
Отпорност на завојницу 19.5Ω у 20 ℃, мак.варм Вредност: 28.8Ω
Радни статус Непрекидан
Макс. Радна температура околине + 50 ℃
Изолација за ДИН 40 050 ИП65

Функција производа и примена експлосије-отпорне на притисак вентила

Карактеристике:

-Суб-плоча постављања:

- Узорак портала за ДИН 24 340 Облик Е и ИСО 6264

- за уградњу у разводнике

- 4 оцене притиска

- Макс. ограничење притиска, опционо

- Појачало тип ВТ-2000 (мора се одредити одвојено)

Примена:

Експлозијско-отпорно средство за заштиту под притиском може се користити за бушење Превентир за уклањање платформе (БОП), Алатке за рупу, природним гасовима за компресије, рударске хидрауличне подршке, машине за хидрауличне хидраулике, опрему за усисавање гаса, опремом за бушење и експлозивне опреме за бушење и експлозивне машине за бушење и експлозивне машине за бушење и експлозије.

Пример:

Отпоран на експлозију → Пропорционално појачало отпорно на експлозију Отпорник → ДБЕ ВЕНТИЛ → Хидраулични актуатор

                                         ↑

                  Сензор притиска на експлозији (повратне информације)


Функција и конфигурација експлосије-отпорне на подложни вентил

Експлозијско-отпоран за помоћ вентила за заштиту под притиском је пилот вентил за управљање притиском. Користи се за континуирано постављање притиска у хидрауличким системима електричним сигналом.

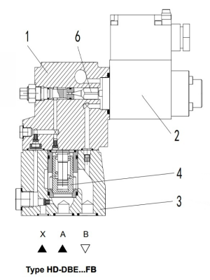
У основи, ови вентили састоје се од пилот вентила (1) с пропорционалним соленоидима (2) и главним вентилом (3) са главним улошком улазница (4).

Тип ХД-ДБЕ ... ФБ

Лимит притиска је у вези са вредношћу електричне струје и постављен пропорционалним соленоидом (2). Притисак система се наноси на главну калему (4). У исто време, притисак се наноси на опружне оптерећене стране главног калема (4) и пилот поппет (6) путем отвора (5) на пилот вентилу (1). Ако хидраулична сила прелази соленоидну снагу, отвара се пилот поппет (6). Пилот течност може да се врати назад у резервоар и пад притиска изазваног органима утиче на главну калему (4). Затим главна калем (4) отвара канал из пумпе у резервоар.


Симбол Експлозијско-отпорно олакшање притиска вентила






Хот Тагс: Експлозијско-отпорно олакшање под притиском ВЕЛИВЕ, Кина, произвођач, добављач, фабрика, велепродаја, ниска цена, квалитет, издржљив
Пошаљи упит
Контакт информације
  • Адреса

    Бр. 27, Иангсха Роад, Град Хуилонг, Кидонг Цити, провинција Јиангсу, Кина

  • Е-маил

    [email protected]

За упите о хидрауличним вентилима, електромагнетним вентилима, пропорционалним вентилима или ценовнику, оставите нам своју е-пошту и ми ћемо вас контактирати у року од 24 сата.
X
We use cookies to offer you a better browsing experience, analyze site traffic and personalize content. By using this site, you agree to our use of cookies. Privacy Policy
Reject Accept